Setting The Standard
“While a maintenance worker was walking through a biotech production area, his pants leg brushed the joint clamp on a steam line. The clamp’s wing nut, which had backed-off just two turns due to temperature cycling and vibration, pulled the swing bolt through the clamp which resulted in total joint failure. The sudden release of high-pressure steam severely injured the worker and disrupted production for hours.”
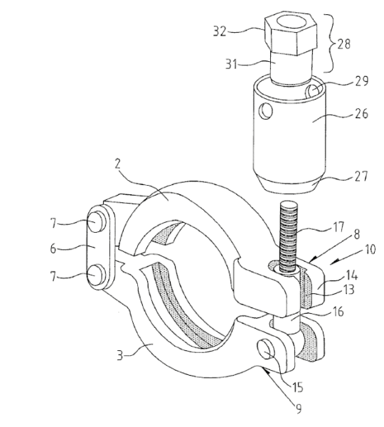
This scenario not only could happen, but continues to happen, and frequently enough that the need for an improved, failure-resistant clamp became obvious within the industry. That need has been met by Advanced Couplings Ltd. The CE compliant design makes it impossible for the swing bolt to release unless the wing nut is significantly loosened, as many as ten turns rather than as few as 1-1/2 turns in the conventional design.
While protection from high-temperature/ high-pressure steam line joint failure was the primary application for these clamps, they also provide protection in systems employing various chemical components, reagents and biological materials. In these applications they not only respond to the need for improved plant safety, they help prevent contamination of the production area and adjacent equipment, and eliminate product loss. Also, they may be seen as a positive factor by your liability insurance carrier.
Clamp Size Specifications
| Nominal Clamp Size (inches) | Flange Ø (mm) | Radius B (mm) | Length C (mm) | Width W (mm) | Mass (Kg) | MAWP Barg (150C) | Max Test Pressure Barg | SKU |
|---|---|---|---|---|---|---|---|---|
| 1⁄2 – 3⁄4 | 25 | 63 | 75 | 17 | 0.15 | 50 | 100 | CL.SAF.0050 |
| 1 – 1 1⁄2 | 50.5 | 77 | 102 | 17 | 0.25 | 50 | 100 | CL.SAF.0100 |
| 2 | 64 | 93 | 123 | 17 | 0.33 | 50 | 100 | CL.SAF.0200 |
| 2 1⁄2 | 77.5 | 100 | 140 | 17 | 0.38 | 50 | 100 | CL.SAF.0250 |
| 3 | 91 | 105 | 150 | 17 | 0.44 | 40 | 80 | CL.SAF.0300 |
| 3 1⁄2 | 106 | 110 | 165 | 17 | 0.44 | 40 | 80 | CL.SAF.0350 |
| 4 | 119 | 119 | 185 | 17 | 0.57 | 35 | 70 | CL.SAF.0400 |
| 4 1⁄2 | 130 | 119 | 191 | 17 | 0.6 | 30 | 60 | CL.SAF.0450 |
| 5 | 144 | 131 | 215 | 19 | 0.75 | 30 | 60 | CL.SAF.0500 |
| 5 1⁄2 | 155 | 148 | 265 | 24 | 1.47 | 30 | 60 | CL.SAF.0550 |
| 6 | 167 | 152 | 277 | 24 | 1.67 | 30 | 60 | CL.SAF.0600 |
| 6 5/8 | 183 | 164 | 297 | 24 | 1.69 | 25 | 50 | CL.SAF.0658 |
| 8 | 217 | 184 | 332 | 24 | 2.19 | 20 | 40 | CL.SAF.0800 |
| 8 5/8 | 233 | 185 | 333 | 24 | 2.34 | 20 | 40 | CL.SAF.0858 |
| 10 | 268 | 205 | 382 | 24 | 2.78 | 16 | 32 | CL.SAF.1000 |
| 10 5/8 | 286 | 213 | 405 | 24 | 2.97 | 16 | 32 | CL.SAF.1058 |
| 12 | 319 | 242 | 458 | 24 | 3.69 | 10 | 20 | CL.SAF.1200 |
| 12 5/8 | 338 | 243 | 463 | 24 | 3.37 | 10 | 20 | CL.SAF.1258 |
Standard Descriptions
| Standard | Description |
|---|---|
| ASME SA351 / 351 M | Clamp segments – CF8M (Cast 316) |
| ASME SA580 / 580 M | Eyebolts – Hot forged – 316 |
| ASME SA580 / 580 M | Cold forged rivets (316) |
| ASME SA351 / 351 M | Wingnuts – CF8M (Cast 316) |
| ASME SA240 / 240 M | Hinge plates – 316 |
| ASME SA479 / 479 M | Hex nuts – 316 |
Clamp segment production standard
- Investment cast using ASME SA 351 / 351 M Stainless – Steels for pressure purposes
- Pickled and passivated – this process removes the ‘free iron’ particles from the surface that would ‘rust’
- Heat treated according to ASME SA 351 / 351 M
- Barrel polished and sized using hydraulic press: Ensures uniformity between the clamps, uniform extrusion of the gasket in a
union and reduces ‘re-torquing’ of clamp after
pressure/temperature cycles
Quality Control
- Pressure tested by three independent bodies:
– Forbairt, TUV SUD and FORCE Denmark
– Also tested in-house as part of ongoing
improvement process - XRF (X-Ray Fluorescence) and PMI (Positive Material Identification) to ensure correct chemical composition
- Castings visually checked to ensure no cracks/blowholes to comply with ASME SA351/351M
- Quality control, research and testing constantly evolving to maintain the highest standard
- ASME SA 580 / A580 M Eyebolt threads controlled in three locations to ensure correct tolerance to minimize the risk of galling
- ASME SA 580 / A580 M Rivets are checked to ensure mechanical properties are within manufacturing limits; otherwise could deform and gall in holes
Documentation and Traceability
- 3.1 certificate (heat number stamped on casting at foundry)
- The castings are stamped according to the pour date at the foundry
- The 4/5 digit number is unique to the size and style of the clamp
Continuous improvement
ACL prides itself as being the benchmark within the hygienic industry for sanitary clamps. In order to stay ahead of the curve, the designs and standards the clamps are produced to, are under constant review.
